- 商品名稱:耐磨切斷熱電偶
- 添加時間:2020-06-30 15:46:09
介紹:
1、應用
通過在耐(nai)磨(mo)頭堆(dui)焊Ni+Wc35,使鋼的硬度提高。適用于生產現場存(cun)在高耐磨固體(ti)顆粒或流體(ti),當保(bao)護管發(fa)生損(sun)壞時可(ke)切斷熱電偶。是(shi)煉油廠催(cui)化(hua)(hua)裂化(hua)(hua)不可(ke)缺少的測溫裝置。
2、主要技(ji)術(shu)參(can)數
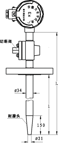
電氣(qi)出口(kou):M20×1.5.NTP1/2
耐磨(mo)頭(tou)硬度:HRC62-65
防(fang)護(hu)等(deng)級:IP65
隔爆(bao)等級:d‖BT4,d‖CT5
公(gong)稱壓力:2.5MPa
3、型號(hao)及規格
型 號 | 分度號 | 測溫范圍℃ | 保護管(guan)材料 | 熱響應時間 | 規 格 |
WRP-430MQ WRR2-430MQ | S | 0-1300 | GH214 | <180S | 450X300 500X350 550X400 600X450 650X500 750X600 950X750 1150X1000 |
WRN-430MQ WRN2-430MQ | K | 0-1000 | GH3030 | ||
0-800 | 1Cr18Ni9Ti | ||||
WRE-430MQ WRE2-430MQ | E | 0-600 | 1Cr18Ni9Ti | ||
WRP-440MQ WRR2-440MQ | S | 0-1300 | GH214 | ||
WRN-440MQ WRN2-440MQ | K | 0-1000 | GH3030 | ||
0-800 | 1Cr18Ni9Ti | ||||
WRE-440MQ WRE2-440MQ | E | 0-600 | 1Cr18Ni9Ti |
- 打印本文
- 瀏覽:
