- 商品名稱:WSS-584雙金屬溫度計
- 添加時間:2020-07-22 17:58:41
WSS-584雙金(jin)屬溫(wen)度計(ji)適用于中(zhong)低溫(wen)現場(chang)檢測,可直(zhi)接測量(liang)液(ye)體(ti)(ti)、氣(qi)體(ti)(ti)和蒸汽的(de)(de)溫(wen)度,具有無***害(hai)、指(zhi)示清晰,堅固、耐振。儀表(biao)全部采用不銹(xiu)鋼材料,具有良(liang)好的(de)(de)防水、耐腐性能。廣泛(fan)應用于石(shi)油、化工、冶金(jin)、紡織、
工作原理:
是基于(yu)繞制(zhi)成環(huan)形彎曲狀的雙金(jin)屬片組(zu)成。一端受熱(re)膨脹時,帶(dai)動(dong)指針旋轉,工作儀表便(bian)顯示出熱(re)電勢所對應(ying)的溫度值。
產品(pin)特點:
1、現場顯示(shi)溫度,直觀方便(bian);
2、安全(quan)可靠,使用壽(shou)命(ming)長;
3、多種結構形式(shi),可滿足不同要求。
主要技(ji)術(shu)參數(shu):
1、安徽(hui)天康集(ji)團(tuan)產(chan)品執行標準:JB/T8803-2015
2、表盤(pan)公稱直徑:150
3、精(jing)度(du)等級:(1.0)、1.5
4、熱響應時間:≤40S
5、防護等級:IP55、IP65
6、角度(du)調(diao)整(zheng)誤(wu)差:角度(du)調(diao)整(zheng)誤(wu)差應不超過(guo)其(qi)量程的1.0%
7、回差(cha):不大(da)于基本誤(wu)差(cha)的******值
8、重復(fu)性:極(ji)限范圍(wei)不大于基本誤差(cha)限******值的1/2
9、測量范圍:
測量(liang)范圍℃ | 適應范圍 | |
工業(ye)、商業(ye) | 實(shi)驗室、小(xiao)型 | |
-80~+40 | ? | ? |
-40~+80 | ? | ? |
0~50 | ? | ? |
0~100 | ? | ? |
0~150 | ? | ? |
0~200 | ? | ? |
0~300 | ? | ? |
0~400 | ? | ﹣ |
0~500 | ? | ﹣ |
10、正常工(gong)作(zuo)大(da)氣條件:
工作(zuo)場所 | 溫度(℃) | 相對濕度(du)% |
掩蔽場所 | -25~+25 | 5~100 |
戶外場所(suo) | -40~+85 | 5~100 |
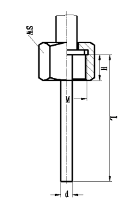
11、安裝固定方式: 單位:mm
可(ke)動(dong)外螺紋接頭 | |||
M | H | SW | d |
M16*1.5 | 12 | 18 | Φ6 Φ8 Φ10
|
M20*1.5 | 16 | 24 | |
M27*2 | 20 | 30 | |
NPT1/4 | 15 | 17 | |
NPT1/2 | 19 | 24 | |
NPT3/4 | 25 | 30 |
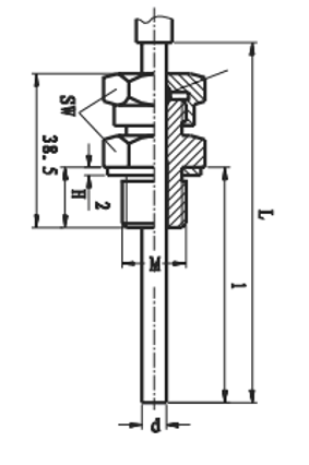
可動內螺紋接頭 | |||
M | H | SW | d |
M16*1.5 | 12 | 22 | Φ6 Φ8 Φ10 |
M20*1.5 | 16 | 27 | |
M27*2 | 20 | 32 | |
NPT1/4 | 15 | 19 | |
NPT1/2 | 19 | 27 | |
NPT3/4 | 25 | 32 |
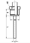
活動卡套螺紋接頭(tou) | |||
M | H | SW | d |
M12*1.5 | 15 | 19 | Φ6 Φ8 Φ10 |
M16*1.5 | 15 | 22 | |
M20*1.5 | 16 | 24 | |
M27*2 | 20 | 30 | |
NPT1/2 | 17 | 24 | |
NPT3/4 | 25 | 32 |
12、安徽天康雙金屬(shu)溫度計命名方法:
W 溫度儀表(biao) | |||||||
S 金(jin)屬膨脹式(shi) | |||||||
S 感(gan)溫元件(jian)雙金屬片 | |||||||
表(biao)殼公稱直徑 | |||||||
3 60 4 100 5 150 | |||||||
位(wei)置特征 | |||||||
0 軸向(直(zhi)形) 1 徑向(角形) 2 135°向(鈍角型) 8 萬(wan)向(xiang)型(可(ke)調(diao)角度) | |||||||
安裝(zhuang)固定裝(zhuang)置 | |||||||
0 無固定裝(zhuang)置(zhi) 1 可動外螺紋(wen) 2 可動內螺紋 3 固定螺紋 4 固定(ding)法蘭 5卡套螺紋 6 卡套法蘭(lan) | |||||||
防(fang)護形式(shi) | |||||||
無(未標注)普通型 W 防護(hu)型 F 防腐型 | |||||||
W S S 4 8 1 W | 典型(xing)型(xing)號示例 |
- 打印本文
- 瀏覽:
