- 商品名稱:WSS-512雙金屬溫度計
- 添加時間:2020-07-22 18:14:47
WSS-512雙金(jin)(jin)屬溫度計適用(yong)于中低溫現場檢測,可直(zhi)接測量(liang)液體、氣體和蒸汽的(de)(de)溫度,具有無***害、指(zhi)示清晰(xi),堅固(gu)、耐(nai)振。儀(yi)表全部(bu)采用(yong)不銹鋼材料,具有良好的(de)(de)防水、耐(nai)腐性能。廣泛應用(yong)于石油(you)、化(hua)工、冶金(jin)(jin)、紡織、
工(gong)作(zuo)原理(li):
是基于繞制成環形彎曲狀的雙金屬片組成。一(yi)端受熱膨脹時,帶動指針旋轉,工作(zuo)儀表便顯示出熱電勢所對應的溫度值。
產品特點:
1、現場顯示溫度,直(zhi)觀方(fang)便(bian);
2、安(an)全可靠,使用(yong)壽命長(chang);
3、多種(zhong)結(jie)構形(xing)式,可滿(man)足不同(tong)要求。
主要技術參數:
1、安徽天康集團產(chan)品執行標準:JB/T8803-2015
2、表(biao)盤公稱(cheng)直徑:150
3、精度等級:(1.0)、1.5
4、熱響應時(shi)間:≤40S
5、防護等級:IP55、IP65
6、角度調整(zheng)誤差:角度調整(zheng)誤差應不超過其量程的(de)1.0%
7、回差:不大(da)于基本誤差的(de)******值
8、重復性:極限范圍不大于(yu)基(ji)本誤差限******值(zhi)的(de)1/2
9、測(ce)量(liang)范圍:
測量范圍℃ | 適應范圍(wei) | |
工業、商業 | 實驗(yan)室、小(xiao)型 | |
-80~+40 | ? | ? |
-40~+80 | ? | ? |
0~50 | ? | ? |
0~100 | ? | ? |
0~150 | ? | ? |
0~200 | ? | ? |
0~300 | ? | ? |
0~400 | ? | ﹣ |
0~500 | ? | ﹣ |
10、正常工作(zuo)大氣(qi)條件:
工作場(chang)所(suo) | 溫度(℃) | 相對(dui)濕度(du)% |
掩蔽場(chang)所 | -25~+25 | 5~100 |
戶外場(chang)所 | -40~+85 | 5~100 |
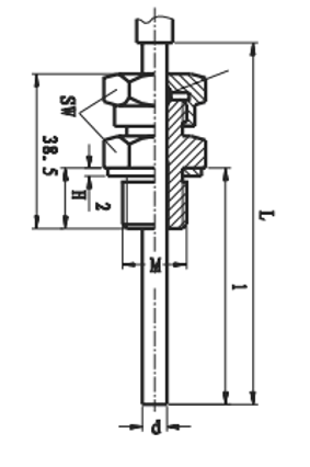
11、安裝固定(ding)方式: 單位:mm
可動外螺(luo)紋接(jie)頭 | |||
M | H | SW | d |
M16*1.5 | 12 | 18 | Φ6 Φ8 Φ10
|
M20*1.5 | 16 | 24 | |
M27*2 | 20 | 30 | |
NPT1/4 | 15 | 17 | |
NPT1/2 | 19 | 24 | |
NPT3/4 | 25 | 30 |
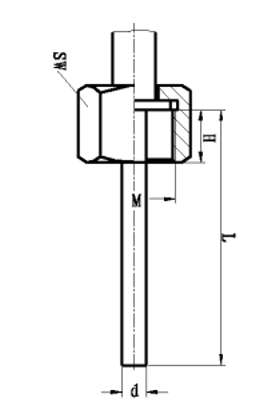
可動內螺紋接(jie)頭 | |||
M | H | SW | d |
M16*1.5 | 12 | 22 | Φ6 Φ8 Φ10 |
M20*1.5 | 16 | 27 | |
M27*2 | 20 | 32 | |
NPT1/4 | 15 | 19 | |
NPT1/2 | 19 | 27 | |
NPT3/4 | 25 | 32 |
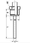
活動(dong)卡套螺紋接頭 | |||
M | H | SW | d |
M12*1.5 | 15 | 19 | Φ6 Φ8 Φ10 |
M16*1.5 | 15 | 22 | |
M20*1.5 | 16 | 24 | |
M27*2 | 20 | 30 | |
NPT1/2 | 17 | 24 | |
NPT3/4 | 25 | 32 |
12、安(an)徽天康雙金屬溫度計命名方法:
W 溫度儀表 | |||||||
S 金(jin)屬膨脹(zhang)式 | |||||||
S 感溫(wen)元件雙(shuang)金(jin)屬片 | |||||||
表殼公(gong)稱直(zhi)徑 | |||||||
3 60 4 100 5 150 | |||||||
位置特(te)征 | |||||||
0 軸向(直形) 1 徑向(角形(xing)) 2 135°向(鈍角型) 8 萬向型(xing)(可調角度) | |||||||
安裝固(gu)定裝置 | |||||||
0 無固(gu)定(ding)裝(zhuang)置 1 可動外螺紋 2 可動內螺紋 3 固定螺紋 4 固定法蘭(lan) 5卡套螺紋 6 卡套法蘭(lan) | |||||||
防護形(xing)式 | |||||||
無(未(wei)標注)普通型 W 防護型 F 防腐(fu)型 | |||||||
W S S 4 8 1 W | 典型型號示(shi)例 |
- 打印本文
- 瀏覽:
