- 商品名稱:WSS-301雙金屬溫度計
- 添加時間:2020-07-24 11:09:00
WSS-301雙金(jin)(jin)屬(shu)溫度(du)計適(shi)用于中(zhong)低溫現場檢測,可(ke)直接測量液體、氣體和蒸汽的溫度(du),具有無***害、指示清晰(xi),堅(jian)固、耐振(zhen)。儀表全部采用不(bu)銹(xiu)鋼材料(liao),具有良好的防(fang)水、耐腐(fu)性能(neng)。廣泛應(ying)用于石油、化工、冶(ye)金(jin)(jin)、紡織、
工(gong)作原理:
是基(ji)于繞(rao)制成環形彎(wan)曲狀的(de)雙金屬片(pian)組(zu)成。一端受熱(re)膨脹時(shi),帶(dai)動指針(zhen)旋(xuan)轉,工作儀表便顯示出熱(re)電勢所對應的(de)溫度值。
產品特點:
1、現場顯示溫度,直觀方(fang)便;
2、安(an)全可靠,使用壽命長;
3、多種結構形式,可滿(man)足不同要求。
主要(yao)技術(shu)參數:
1、安徽天康集團產品執(zhi)行(xing)標準:JB/T8803-2015
2、表盤公(gong)稱直(zhi)徑:60
3、精度等級:(1.0)、1.5
4、熱響應時間:≤40S
5、防(fang)護等級(ji):IP55、IP65
6、角(jiao)度(du)調整(zheng)誤差(cha):角(jiao)度(du)調整(zheng)誤差(cha)應不(bu)超(chao)過其量程(cheng)的1.0%
7、回差:不大于(yu)基(ji)本誤差的******值
8、重(zhong)復性:極(ji)限(xian)范圍(wei)不大于(yu)基(ji)本誤差限(xian)******值(zhi)的1/2
9、測量(liang)范圍:
測量范圍℃ | 適應范(fan)圍(wei) | |
工業、商業 | 實驗室(shi)、小型(xing) | |
-80~+40 | ? | ? |
-40~+80 | ? | ? |
0~50 | ? | ? |
0~100 | ? | ? |
0~150 | ? | ? |
0~200 | ? | ? |
0~300 | ? | ? |
0~400 | ? | ﹣ |
0~500 | ? | ﹣ |
10、正常工作大氣條件:
工作場所 | 溫度(℃) | 相(xiang)對濕(shi)度% |
掩蔽場所 | -25~+25 | 5~100 |
戶外(wai)場所 | -40~+85 | 5~100 |
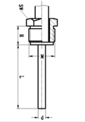
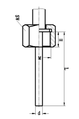
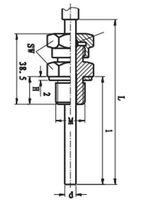
11、安裝固(gu)定方式: 單(dan)位:mm
可動(dong)外(wai)螺紋接頭(tou) | |||
M | H | SW | d |
M16*1.5 | 12 | 18 | Φ6 Φ8 Φ10
|
M20*1.5 | 16 | 24 | |
M27*2 | 20 | 30 | |
NPT1/4 | 15 | 17 | |
NPT1/2 | 19 | 24 | |
NPT3/4 | 25 | 30 |
可動內螺紋(wen)接頭 | |||
M | H | SW | d |
M16*1.5 | 12 | 22 | Φ6 Φ8 Φ10 |
M20*1.5 | 16 | 27 | |
M27*2 | 20 | 32 | |
NPT1/4 | 15 | 19 | |
NPT1/2 | 19 | 27 | |
NPT3/4 | 25 | 32 |
活動卡套螺紋接頭 | |||
M | H | SW | d |
M12*1.5 | 15 | 19 | Φ6 Φ8 Φ10 |
M16*1.5 | 15 | 22 | |
M20*1.5 | 16 | 24 | |
M27*2 | 20 | 30 | |
NPT1/2 | 17 | 24 | |
NPT3/4 | 25 | 32 |
12、安徽(hui)天康雙(shuang)金屬溫度計命名方法:
W 溫度儀表 | |||||||
S 金屬(shu)膨脹式 | |||||||
S 感溫元件雙金屬片 | |||||||
表殼(ke)公稱直徑(jing) | |||||||
3 60 4 100 5 150 | |||||||
位置特征 | |||||||
0 軸向(直形) 1 徑向(角形) 2 135°向(鈍角型) 8 萬向型(可(ke)調角(jiao)度) | |||||||
安(an)裝(zhuang)固定裝(zhuang)置 | |||||||
0 無固定裝置 1 可動外螺(luo)紋(wen) 2 可動內螺紋 3 固定(ding)螺紋 4 固定(ding)法蘭 5卡套螺紋(wen) 6 卡套法蘭 | |||||||
防(fang)護形式 | |||||||
無(wu)(未(wei)標注(zhu))普(pu)通型 W 防護型 F 防腐型(xing) | |||||||
W S S 4 8 1 W | 典型型號示例 |
- 打印本文
- 瀏覽:
