- 商品名稱:WSS-306雙金屬溫度計
- 添加時間:2020-07-24 11:21:37
WSS-306雙金(jin)屬溫度計適用于中(zhong)低溫現場檢測,可直接測量液體(ti)、氣(qi)體(ti)和蒸汽的溫度,具有無(wu)***害、指示清晰,堅固(gu)、耐振。儀(yi)表全部采用不(bu)銹鋼材料,具有良好的防水、耐腐性能。廣泛應用于石(shi)油、化工、冶金(jin)、紡織、
工作原(yuan)理:
是基于(yu)繞制成環形彎(wan)曲狀的(de)雙(shuang)金屬片組成。一端受熱膨脹時,帶動指(zhi)針旋轉(zhuan),工(gong)作儀表便顯示出熱電(dian)勢所對(dui)應的(de)溫度值(zhi)。
產品(pin)特(te)點:
1、現場顯示(shi)溫度,直觀方便(bian);
2、安全可靠,使用(yong)壽命(ming)長;
3、多種結構形式,可滿足不(bu)同要求。
主(zhu)要(yao)技術參數:
1、安徽天(tian)康集團產(chan)品執行標準(zhun):JB/T8803-2015
2、表盤公稱直徑:60
3、精(jing)度等級:(1.0)、1.5
4、熱(re)響應時間:≤40S
5、防護等(deng)級:IP55、IP65
6、角度調(diao)整誤差:角度調(diao)整誤差應不超過其量程的1.0%
7、回差:不大于基本誤差的******值
8、重復性:極(ji)限范圍不(bu)大于基本誤(wu)差(cha)限******值的1/2
9、測量(liang)范圍:
測(ce)量范圍℃ | 適應范圍 | |
工業、商業 | 實驗室、小型 | |
-80~+40 | ? | ? |
-40~+80 | ? | ? |
0~50 | ? | ? |
0~100 | ? | ? |
0~150 | ? | ? |
0~200 | ? | ? |
0~300 | ? | ? |
0~400 | ? | ﹣ |
0~500 | ? | ﹣ |
10、正常工作大(da)氣條件:
工(gong)作場所 | 溫度(du)(℃) | 相對濕度% |
掩(yan)蔽場所 | -25~+25 | 5~100 |
戶外場所 | -40~+85 | 5~100 |
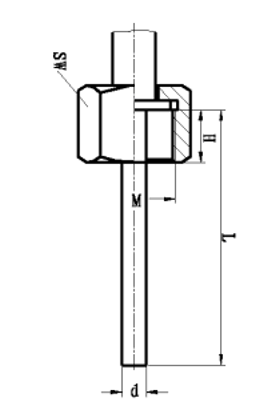
11、安裝固定方式: 單位(wei):mm
可(ke)動外螺紋(wen)接(jie)頭 | |||
M | H | SW | d |
M16*1.5 | 12 | 18 | Φ6 Φ8 Φ10
|
M20*1.5 | 16 | 24 | |
M27*2 | 20 | 30 | |
NPT1/4 | 15 | 17 | |
NPT1/2 | 19 | 24 | |
NPT3/4 | 25 | 30 |
可動(dong)內螺(luo)紋接頭 | |||
M | H | SW | d |
M16*1.5 | 12 | 22 | Φ6 Φ8 Φ10 |
M20*1.5 | 16 | 27 | |
M27*2 | 20 | 32 | |
NPT1/4 | 15 | 19 | |
NPT1/2 | 19 | 27 | |
NPT3/4 | 25 | 32 |
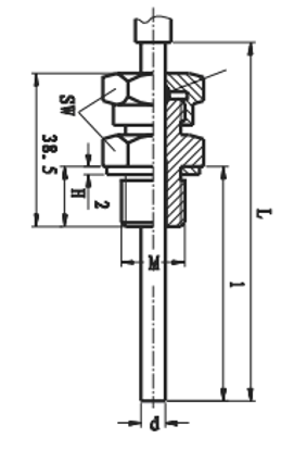
活(huo)動卡套螺紋接頭 | |||
M | H | SW | d |
M12*1.5 | 15 | 19 | Φ6 Φ8 Φ10 |
M16*1.5 | 15 | 22 | |
M20*1.5 | 16 | 24 | |
M27*2 | 20 | 30 | |
NPT1/2 | 17 | 24 | |
NPT3/4 | 25 | 32 |
12、安徽(hui)天康雙(shuang)金(jin)屬(shu)溫度(du)計命名方法(fa):
W 溫度儀表 | |||||||
S 金屬膨(peng)脹式 | |||||||
S 感溫元件雙金屬片 | |||||||
表殼公稱直徑(jing) | |||||||
3 60 4 100 5 150 | |||||||
位置特征 | |||||||
0 軸向(直(zhi)形) 1 徑(jing)向(角形) 2 135°向(xiang)(鈍角(jiao)型) 8 萬向型(可調(diao)角(jiao)度) | |||||||
安裝(zhuang)固定(ding)裝(zhuang)置 | |||||||
0 無(wu)固(gu)定裝(zhuang)置(zhi) 1 可動外(wai)螺紋 2 可(ke)動內(nei)螺紋 3 固定螺紋 4 固定法蘭(lan) 5卡套螺紋 6 卡套法蘭 | |||||||
防(fang)護形式(shi) | |||||||
無(未(wei)標注)普通型 W 防護型 F 防腐型(xing) | |||||||
W S S 4 8 1 W | 典型型號示例(li) |
- 打印本文
- 瀏覽:
